VOGONS


First post, by microtronichamburg

User metadata
Rank Newbie
Rank
Newbie

Hi all,

wanted to share a few things to help fellow Euro PC users with their repairs:

- I didn't have a power supply. So I created my own, using a MeanWell RT-65 B. It directly supplies 12 V, -12 V, 5 V. -5V is not required.

- the keyboard (micro) controller in my Euro PC was dead. It is possible to put in a Motorola 68705 substitute which can be programmed (EPROM). A jumper needs to be changed on the board. A guy from https://www.classic-computing.org/ was able to retrieve the firmware and put it in an Arduino sketch. You will still need to build the Motorola programmer board, but it connects to an Arduino Mega rather than an EPROM for the firmware container. It's not difficult to assemble, but a bit of a project. I can supply replacement controllers if required (-> PM).

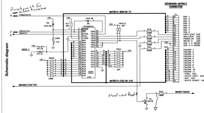
- the keyboard membrane of my Euro PC is irreparably broken (actually, it's not a membrane, as it only has one layer, but it's still conductive ink printed on mylar). Another attempt to source a substitute keyboard from eBay got me an even worse extra membrane. So I am going to create a PCB substitute now. In the meantime, it is possible to just connect a standard XT keyboard to the Euro PC. But not all XT keyboard will do; it requires a certain "code set". I am attaching an image.

- it is possible to extent the Euro PC drastically. I have acquired an external ISA backplane extender, and connected it to the Euro PC. My Euro PC now has the CF XT-IDE, a 1 MB RAM expansion, an Adlib clone, a VGA card, and EGA card (only one at a time of course), as well as a MPU401 MIDI card recreation. One issue is the required ISA connector cable, which you can create from https://oshpark.com/shared_projects/cG4aZUEg . The cable absolutely must be shielded! For this purpose, I found something much better than Aluminum foil. See pictures attached. DO NOT draw power from the ISA cable; use a backplane with extra Power Connectors. I just routed a second set of 5V, 12 V, -12 V to the same MeanWell that also powers the Euro PC. Works well, and the whole set draws less than 2.5 Amps with all cards plugged in, so it's well below the limit for the MeanWell.

- attaching a Gotek to the external floppy connector is straightforward. Just connect the wires. You can get 5V and GND from the connector, no need for any crazy adapters or even an extra 5V power supply.

Hope that helps, Happy Euro PC hacking / repairs,

Michael

Attachments

  • p5.jpg
    Filename
    p5.jpg
    File size
    176.13 KiB
    Views
    382 views
    File license
    Public domain
  • p4.jpg
    Filename
    p4.jpg
    File size
    149.14 KiB
    Views
    382 views
    File license
    Public domain
  • p3.jpg
    Filename
    p3.jpg
    File size
    151.98 KiB
    Views
    382 views
    File license
    Public domain
  • p2.jpg
    Filename
    p2.jpg
    File size
    206.53 KiB
    Views
    382 views
    File license
    Public domain
  • p1.jpg
    Filename
    p1.jpg
    File size
    219.5 KiB
    Views
    382 views
    File license
    Public domain
Last edited by microtronichamburg on 2023-01-29, 18:24. Edited 5 times in total.

Reply 1 of 3, by microtronichamburg

User metadata
Rank Newbie
Rank
Newbie

... and some more pictures

Attachments

  • p9.jpg
    Filename
    p9.jpg
    File size
    144.36 KiB
    Views
    372 views
    File license
    Public domain
  • p9.png
    Filename
    p9.png
    File size
    267.26 KiB
    Views
    372 views
    File license
    Public domain
  • p8.jpg
    Filename
    p8.jpg
    File size
    221.55 KiB
    Views
    372 views
    File license
    Public domain
  • p7.jpg
    Filename
    p7.jpg
    File size
    207.45 KiB
    Views
    372 views
    File license
    Public domain
  • p6.jpg
    Filename
    p6.jpg
    File size
    211.21 KiB
    Views
    372 views
    File license
    Public domain

Reply 2 of 3, by microtronichamburg

User metadata
Rank Newbie
Rank
Newbie

Here is a hint regarding the external keyboards. It has to be a DIN XT only protocol keyboard. Of three DIN XT / AT keyboards that I acquired, only one worked. A keytronics one. And that only after I populated an internal jumper and set it to XT. The keyboard bottom case gave it away - at some point, they sold the keyboard with a switch, but it wasn't populated. I opened it up, soldered in the jumper and set it to XT only (not XT/ AT enchanched which is the default in most XT DIN keyboards). After that, the Euro PC started working with the external keyboard.

So, AT ~ XT/AT enhanched ~ PS/2 ~ USB keyboard - and that does NOT work. The Euro PC / Faraday chipset needs the old-style "XT only" protocol.

Attachments