First post, by EPoX
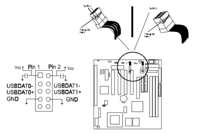
Greetings. Im trying to add usb support on a FIC va-503+ board. i even got the manual and in it..there is a low quality picture of an optional USB board that connects to the motherboard.
( it does not look like a simple cable, this usb addon board looks like it has some components in it besides usb ports i see some capacitors and other electronic components) I tried searching on google for such addon and found nothing. I even found pics of the box, cd, and bags that this board included in the box and i did not see this usb addon card in the box.
So i came here to find out if anyone here has such addon, or how did you solve the problem to add usb support to this motherboard. If you bought another card or if you bought a PCI USB (would like to know which model and brand/chip maker did you buy)
usb is very important for me, specially for win98 so i can transfer files.
thanks



