VOGONS


Cyrix/ST/IBM Aiming for the stars!

Topic actions

First post, by Sphere478

User metadata
Rank l33t++
Rank
l33t++

It’s about time Cyrix/ST/IBM got some benchmark competition love,

Let’s see those 3dmark 2000 and 99 scores!

Feel free to drop any other benchmarks you feel are appropriate also.

I’ll be using a 400gp for my entries.

Only rules are, default benchmark settings, driver tweaks are allowed, so long as you tell us about them so we can use them :p! Overclocking is allowed, any gpu, any mobo, must have a sound card, must be a cyrix mII 433 or prior (none of that via stuff) ST and IBM also count as okay. (Same chip)

Last edited by Sphere478 on 2022-03-11, 19:26. Edited 1 time in total.

Sphere's PCB projects.
-
Sphere’s socket 5/7 cpu collection.
-
SUCCESSFUL K6-2+ to K6-3+ Full Cache Enable Mod
-
Tyan S1564S to S1564D single to dual processor conversion (also s1563 and s1562)

Reply 1 of 98, by heckyeah

User metadata
Rank Newbie
Rank
Newbie

Well, I am reorganizing and I do have a 333gp that I might be able to take to around 280mhz so hmm ... 🤔

I'm not familiar enough with 3Dmark. Will the CPU bottleneck with more powerful GPUs enough that the 3Dmark scores get normalized close to each other anyway?

Reply 2 of 98, by appiah4

User metadata
Rank l33t++
Rank
l33t++

I had an MII 300 (75mHz FSB) but it died, I really hope I find a fast mII again some day. For some reason I really like these chips. Unfortunately they appear to have become mostly destroyed by gold scrappers 🙁

Retronautics: A digital gallery of my retro computers, hardware and projects.

Reply 3 of 98, by Sphere478

User metadata
Rank l33t++
Rank
l33t++

There are some decent prices on 366 chips on ebay right now

heckyeah wrote on 2022-03-10, 07:39:

Well, I am reorganizing and I do have a 333gp that I might be able to take to around 280mhz so hmm ... 🤔

I'm not familiar enough with 3Dmark. Will the CPU bottleneck with more powerful GPUs enough that the 3Dmark scores get normalized close to each other anyway?

I’m betting that you’ll probably see best results with geforce 2/3 same as the pentium 233 and k6-3+ aiming for the stars threads

Sphere's PCB projects.
-
Sphere’s socket 5/7 cpu collection.
-
SUCCESSFUL K6-2+ to K6-3+ Full Cache Enable Mod
-
Tyan S1564S to S1564D single to dual processor conversion (also s1563 and s1562)

Reply 4 of 98, by bakemono

User metadata
Rank Oldbie
Rank
Oldbie

I have a couple old results.

MII-400, Shuttle HOT-591p, GeForce 2 GTS
3Dmark '99 - 1205 3D marks, 1296 CPU
MII-400, Shuttle HOT-591p, Radeon 9200
3Dmark '01 - 1535 3D marks

Last time I tried to use the MII-400, Win98 got corrupt and wouldn't boot anymore, 🤣. Right before that I had benched an MII-300 with a Savage 2000, because I thought it would be cool to start a thread about benchmarks without any AMD/ATI/Intel/nVidia. Gave up though after that and my ASRock PV530 showed up dead.

again another retro game on itch: https://90soft90.itch.io/shmup-salad

Reply 5 of 98, by BitWrangler

User metadata
Rank l33t++
Rank
l33t++

I gots like 90 things I wanna do already. Would have loved to run my old MII rig which ppl don't believe I played Q3 engine games on... I didn't say I played them fast 🤣 ... think that was an MII 366 at 3.5x83 on a VX motherboard. Rage Pro XL or something.

Unicorn herding operations are proceeding, but all the totes of hens teeth and barrels of rocking horse poop give them plenty of hiding spots.

Reply 6 of 98, by Sphere478

User metadata
Rank l33t++
Rank
l33t++

Re: Cyrix 400gp multiplier settings

Cheat sheet^ btw

About to do a run on my 400gp
Freeway design ultra mobo
Radeon 9800 pro
Audigy 2 zs

Looks like 4x100 is a no go at 2.2v

3.5x100 it is!

Annnnnd crash…

2.3v…

Crash

2.4v….

Images: 3dmark 2001, followed by 2000, followed by cpu-z, followed by super pi 1m

Attachments

  • image.jpg
    Filename
    image.jpg
    File size
    1.59 MiB
    Views
    2048 views
    File license
    Public domain
  • image.jpg
    Filename
    image.jpg
    File size
    1.82 MiB
    Views
    2060 views
    File license
    Public domain
  • image.jpg
    Filename
    image.jpg
    File size
    1.98 MiB
    Views
    2061 views
    File license
    Public domain
  • image.jpg
    Filename
    image.jpg
    File size
    1.87 MiB
    Views
    2062 views
    File license
    Public domain
Last edited by Sphere478 on 2022-03-12, 07:33. Edited 4 times in total.

Sphere's PCB projects.
-
Sphere’s socket 5/7 cpu collection.
-
SUCCESSFUL K6-2+ to K6-3+ Full Cache Enable Mod
-
Tyan S1564S to S1564D single to dual processor conversion (also s1563 and s1562)

Reply 7 of 98, by mwdmeyer

User metadata
Rank Oldbie
Rank
Oldbie
Sphere478 wrote on 2022-03-10, 08:43:

There are some decent prices on 366 chips on ebay right now

heckyeah wrote on 2022-03-10, 07:39:

Well, I am reorganizing and I do have a 333gp that I might be able to take to around 280mhz so hmm ... 🤔

I'm not familiar enough with 3Dmark. Will the CPU bottleneck with more powerful GPUs enough that the 3Dmark scores get normalized close to each other anyway?

I’m betting that you’ll probably see best results with geforce 2/3 same as the pentium 233 and k6-3+ aiming for the stars threads

Do you have ebay link?

Vogons Wiki - http://vogonswiki.com

Reply 8 of 98, by Sphere478

User metadata
Rank l33t++
Rank
l33t++

366:

https://www.ebay.com/sch/i.html?_nkw=cyrix+366gp&_sop=15

Oh here is a interesting find:

https://www.ebay.com/itm/393974359571?

I think this is using the 433gp core. 2.2v, small square cover on back,…

Sphere's PCB projects.
-
Sphere’s socket 5/7 cpu collection.
-
SUCCESSFUL K6-2+ to K6-3+ Full Cache Enable Mod
-
Tyan S1564S to S1564D single to dual processor conversion (also s1563 and s1562)

Reply 9 of 98, by Sphere478

User metadata
Rank l33t++
Rank
l33t++

Omg😂

Halo CE!! It lives!!!!
https://youtu.be/jx-KE-xlNS0

Sphere's PCB projects.
-
Sphere’s socket 5/7 cpu collection.
-
SUCCESSFUL K6-2+ to K6-3+ Full Cache Enable Mod
-
Tyan S1564S to S1564D single to dual processor conversion (also s1563 and s1562)

Reply 10 of 98, by heckyeah

User metadata
Rank Newbie
Rank
Newbie
Sphere478 wrote on 2022-03-11, 06:42:

Oh here is a interesting find:

https://www.ebay.com/itm/393974359571?

I think this is using the 433gp core. 2.2v, small square cover on back,…

Yeah, I just ordered one because I always wanted a 2.2v instead of the hot 2.9v. It's gonna be a few months so I'll have to bench the 333gp instead.

Anyways, nice OC! That's why I wanted a 2.2v. 😄 I think a 350mhz would be something like a 466 or 500GP by Cyrix logic 😁

Reply 11 of 98, by Sphere478

User metadata
Rank l33t++
Rank
l33t++
heckyeah wrote on 2022-03-11, 07:06:
Sphere478 wrote on 2022-03-11, 06:42:

Oh here is a interesting find:

https://www.ebay.com/itm/393974359571?

I think this is using the 433gp core. 2.2v, small square cover on back,…

Yeah, I just ordered one because I always wanted a 2.2v instead of the hot 2.9v. It's gonna be a few months so I'll have to bench the 333gp instead.

Anyways, nice OC! That's why I wanted a 2.2v. 😄 I think a 350mhz would be something like a 466 or 500GP by Cyrix logic 😁

!!!!!All bow before the 500GP!!!!!

(I think the bios stops at 500gp 🤣)

Attachments

Sphere's PCB projects.
-
Sphere’s socket 5/7 cpu collection.
-
SUCCESSFUL K6-2+ to K6-3+ Full Cache Enable Mod
-
Tyan S1564S to S1564D single to dual processor conversion (also s1563 and s1562)

Reply 12 of 98, by BitWrangler

User metadata
Rank l33t++
Rank
l33t++

Well well well, maybe doing 6x86 stuff jumped from 90 on the list to top 20 at least. I was thinking about what boards I've got, in particular what Via boards I've got because they are known to support the 6x86 burst mode which can give up to 5% performance gain vs Intel chipsets. There's some scribbles I've got in old notes about an MVP3 board and FIC boards, but the only one I know for sure I've got is a Lucky Star 5V-1A. Which does this... Lucky Star 5V-1A / 5V-1B review - scaling form XT levels to K6-II levels

It's not a "super" 7 really but got a couple of higher FSBs there that would be interesting to try my 366GP on if I can dig it out. My ALI V boards are reserved for the K6-2/3+ but maybe at some point in not so near future I'll try a 2x140 run on them for giggles. If the 366GP won't make an appearance, then an IBM MX266 will have to do until something better turns up. Though it's a 2.5 x 83 part, so since IBM is supposedly conservative on clocks, might do as well as 300/333 PRed Cyrix parts. Not sure if I've got some Cyrix hiding in "non-computer" areas though a few years back a bud was wanting a gold top CPU for a display piece and I gathered up Pentium 90s and Cyrixes to show him what I had, but he more had a P-Pro in mind I think, anyway, the P90s didn't make it back to the computer areas again and unsure what cyrix were with them. So I think I've got one or two stored somewhere really random, box or drawer in living areas somewhere. Don't think they would have been upper end speeds I was offering to give him... might have been a 233 though and you never know until you try them how well they will go, and it probably wasn't in my mind then to verify whether they were .35 or .25 or what.

All my decent PCI graphics cards are also spoken for, got so many TNT2 AGP though, wish I could magic wand them into PCIs.... or magic wand an AGP slot into more motherboards. Got "interesting" period correct stuff that nobody actually wants to use, like Permedia 2, Rendition Verite, and Rage Pro.... thought I had a Rage 128 PCI which would be passable, but IDK if I imagined it because there's no sign of the thing.... and I'm not up for blowing $1000 for the 6 places I can think of to install a V3 PCI.

I'll have to see what turns up, it's not like I'm trying to build this tomorrow.

Unicorn herding operations are proceeding, but all the totes of hens teeth and barrels of rocking horse poop give them plenty of hiding spots.

Reply 13 of 98, by heckyeah

User metadata
Rank Newbie
Rank
Newbie

Bah, I could get a post @ 112x2.5 on my SY-5EMA+ (so a 433gp I guess) easy enough but a Win98 OS drive I snagged off a different MVP3 board didn't want to play ball so I'll have to do a clean install just for this.

Reply 14 of 98, by Sphere478

User metadata
Rank l33t++
Rank
l33t++

^ that board is super cool, being able to down clock that far! Wow!

Cuttoon found this

http://www.cpu-galerie.de/html/cyrixmii.html# … 20II-400GP-3x95

Sphere's PCB projects.
-
Sphere’s socket 5/7 cpu collection.
-
SUCCESSFUL K6-2+ to K6-3+ Full Cache Enable Mod
-
Tyan S1564S to S1564D single to dual processor conversion (also s1563 and s1562)

Reply 15 of 98, by 0xCats

User metadata
Rank Newbie
Rank
Newbie

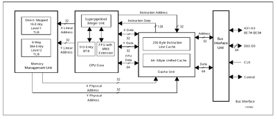
Just adding this here

The Cyrix M2 block diagrams, as well as the Cyrix M2 databooks,which can be a bit quirky to find.

cache diagram 1.png
Filename
cache diagram 1.png
File size
54.94 KiB
Views
1907 views
File license
Public domain
block diagram 1.png
Filename
block diagram 1.png
File size
61.73 KiB
Views
1907 views
File license
Public domain

Also the 433GP max ratings:
Vcc3 = IO Voltage
Vcc2 = Vcore (this is for a 2.2V chip) (The NSC node used is just godawful with clock scaling also)

Screenshot_20220311_231640.jpeg
Filename
Screenshot_20220311_231640.jpeg
File size
65.93 KiB
Views
1900 views
File license
CC-BY-4.0

Contents are:

- Cyrix MII BIOS_Writers_Guide
- Cyrix MII Data Book 1999
- CyrixMII MII 100MHz Bus Design
- Cyrix MII MII 400 Addendum
- Cyrix MII MII 433 Addendum
- Some Cyrix CPU Detection code logic that does clock timing in an interesting way

Attachments

There are two types of devices, those that know they've been hacked and those that don't yet know they're going to be hacked.

Reply 16 of 98, by BitWrangler

User metadata
Rank l33t++
Rank
l33t++

Not sure if it extends into MX/MII but other Vogons noted some differences between multi implementation on earlier 6x86 Subtle differences between Cyrix and IBM 6x86s

Another thing that's strange is some sources have a "half shrink" noted, 0.30 micron between 0.35 and 0.25 .. I'm wondering if that accounts for IBM citing 2 to 3 watts lower power on some of theirs vs the Cyrix or whether that's some extra doping, thicker layers or something they used on their spins. CPU-world doesn't even cite a manufacturing process for a lot of the models... I don't know if that's because some PR models, even those at same actual clocks same multi were on different processes through 97-99 or that they just can't nail any down. Somewhat less detail than for other CPUs anyway, and models seem lumped as noted, and there's some obvious models missing.

Anyhoo, little bit of treasure for the thread at the bottom of the MII-400 page, somebody benched an overclock...
https://www.cpu-world.com/CPUs/MII/Cyri ... 2.2V).html
But only with 3DM2001 and a "too good" GPU which means it can probably be beaten by GF2 or GF3, maybe even a Radeon DDR or hot TNT2.

Unicorn herding operations are proceeding, but all the totes of hens teeth and barrels of rocking horse poop give them plenty of hiding spots.

Reply 17 of 98, by Nemo1985

User metadata
Rank Oldbie
Rank
Oldbie
Sphere478 wrote on 2022-03-11, 06:42:

You'd better get this 366 rated v2.9, quite rare and interesting, if you ask me.
The v2.9 is faster clock to clock compared to v2.2.
Be sure to have a nice beefy heatsink 😁

photo_2022-03-12_02-55-44.jpg
Filename
photo_2022-03-12_02-55-44.jpg
File size
36.87 KiB
Views
1860 views
File license
Public domain

Also if you have different cyrix\ibm cpus, you can use this utility it gives some nice info:

Filename
cyrix.zip
File size
9.59 KiB
Downloads
47 downloads
File license
CC-BY-4.0

Reply 18 of 98, by Sphere478

User metadata
Rank l33t++
Rank
l33t++
Nemo1985 wrote on 2022-03-12, 01:56:
You'd better get this 366 rated v2.9, quite rare and interesting, if you ask me. The v2.9 is faster clock to clock compared to v […]
Show full quote
Sphere478 wrote on 2022-03-11, 06:42:

You'd better get this 366 rated v2.9, quite rare and interesting, if you ask me.
The v2.9 is faster clock to clock compared to v2.2.
Be sure to have a nice beefy heatsink 😁

photo_2022-03-12_02-55-44.jpg

Also if you have different cyrix\ibm cpus, you can use this utility it gives some nice info:
cyrix.zip

The 2.9v 366 chips pop up on ebay all the time, they aren’t hard to come by. The 2.2v chip is not something that pops up very often.

Apparently, there were quite a few speeds to get the 2.2v core.

I can try to do some benchamarks with my (two) 366 chips later tonight maybe. I’m intrigued at the faster clock per clock performance.

Seems like the better clocks would make up for the less clock per clock performance.

Sphere's PCB projects.
-
Sphere’s socket 5/7 cpu collection.
-
SUCCESSFUL K6-2+ to K6-3+ Full Cache Enable Mod
-
Tyan S1564S to S1564D single to dual processor conversion (also s1563 and s1562)

Reply 19 of 98, by Nemo1985

User metadata
Rank Oldbie
Rank
Oldbie

Probably, still the higher v2.9 frequency is 250 mhz (little to none overclocking chance), while the v2.2 is 285 (or 300 for the almost impossible to find 433gp).

That's the performance difference at 250mhz clock:

Immagine.png
Filename
Immagine.png
File size
17.77 KiB
Views
1836 views
File license
Public domain

The configuration was slightly different compared to the 200 mhz, but somewhat comparable.

At 200 mhz the difference (quake 320 resolution) was 1,7 fps, while at 250 mhz it was 2,2!
So apparently going up with clock increase the performance gap.